Filter
–
Markisenzubehör
2'167 Artikel
Rabatt %
An Lager 1

Markisenzubehör
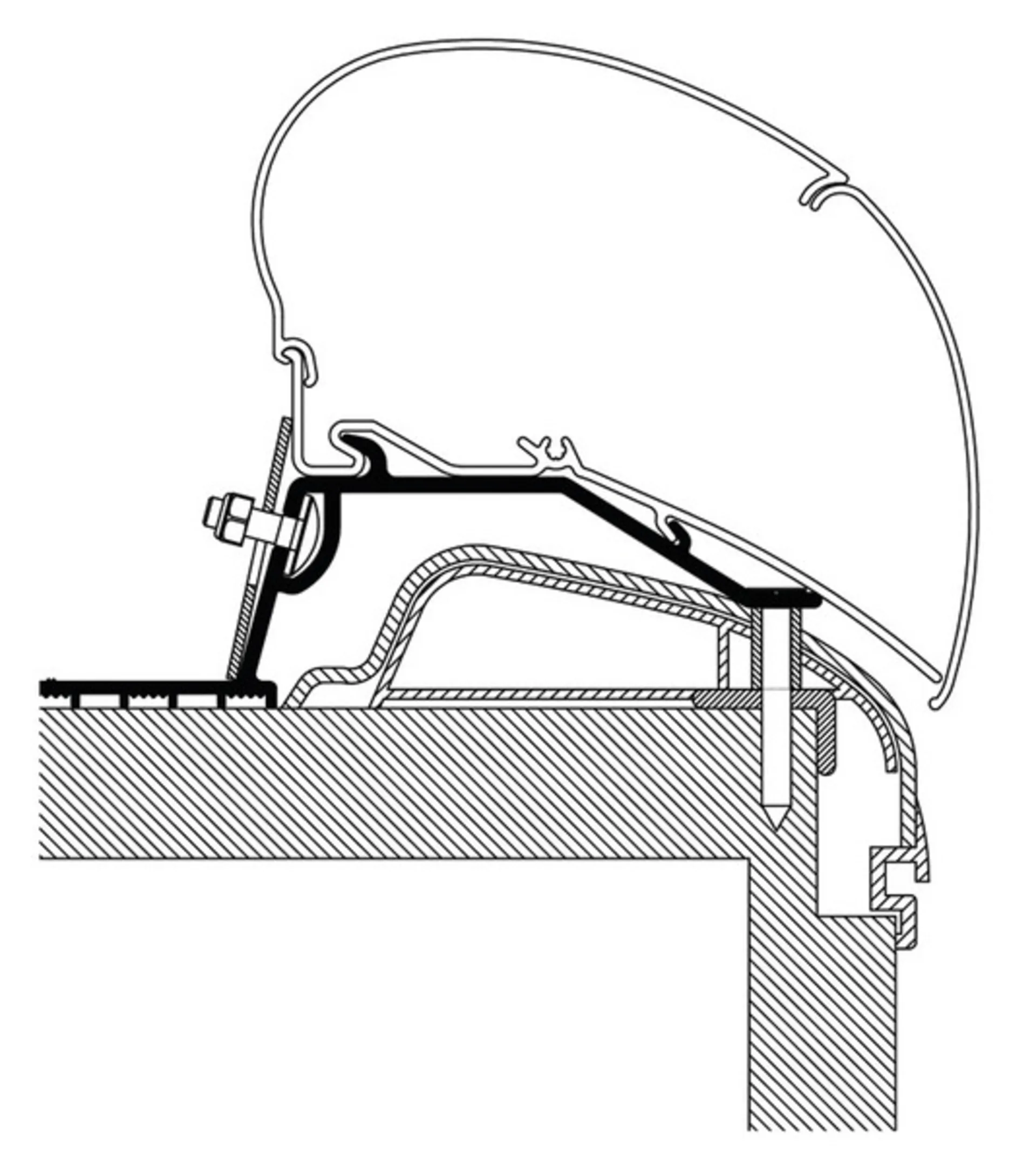
Regenrinne für VW T4/T5/T6 mit Zeltbefestigungsschiene und langer Radstand
CHF 258.00 CHF 369.00
Rabatt %
An Lager 1
Express
An Lager 10+










